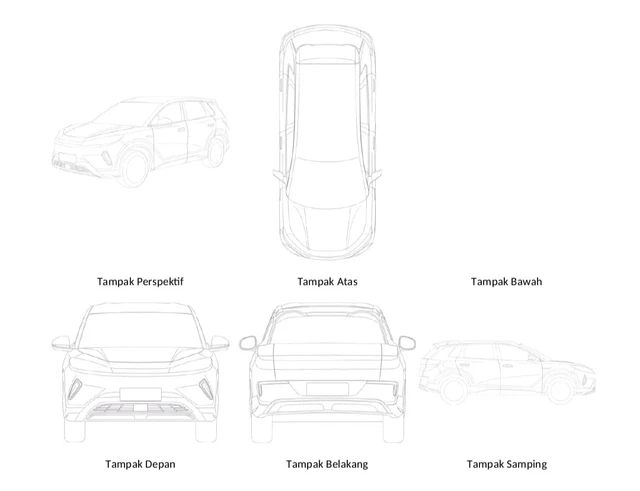
BYD Sealion 05 Sudah Terdaftar di Kemenkum

JAKARTA, AVOLTA – BYD Indonesia dipastikan masih akan menambah model baru untuk pasar domestik. Terbaru, terhembus kalau paten desain Sealion 05 sudah terdaftar di Direktorat Jenderal Kekayaan Intelektual (DJKI) Kementerian Hukum Republik Indonesia.
Rincian desainnya tercantum dalam Berita Resmi Desain Industri No. 40/DI/2025 dengan nomor permohonan A00202407633.
Permohonan desain industri tersebut diajukan oleh BYD Company Limited yang bermarkas di Shenzhen, Cina. Biasanya pendaftaran ini sebagai langkah awal perusahaan menjual model baru di Indonesia.
Belum banyak informasi lain yang terungkap, tapi mobil listrik ini merupakan model global yang sudah dijual di negara lain termasuk Cina.
Sekadar informasi, mobil ini dikenal dengan nama Haishi 05 EV. Menariknya, selain versi EV, BYD juga menawarkan varian PHEV (Plug-in Hybrid Electric Vehicle) dengan desain grille yang dibuat berbeda dari versi listrik murninya.
Haishi 05 EV sudah diluncurkan sejak Maret 2025 dengan banderol harga sekitar 16 ribu USD, atau setara dengan Rp 259,9 jutaan.
